网站首页
关于时恒
公司新闻
产品中心
荣誉资质
人才招聘
联系我们
您的位置:首页 > 行业知识 > 正文

CWF4-503J4350 NTC温度传感器在多功能功放机中的应用

发布时间:2025/12/3    访问人数:376次

在追求极致影音体验的今天,集高清画质、3D环绕音效、专业卡拉OK与强劲功率于一体的“影K一体功放机”已成为家庭客厅和私人影K房的明星产品。它将传统的影院系统和 KTV 系统整合到一个设备中的功率放大器,通过高清图像处理技术、音频解码和系统优化,实现影院、音乐、K 歌三种模式的智能切换。用户在享受震撼音效和精准的影音表现时,有一个关键元件CWF4-503J4350 NTC温度传感器正默默守护着设备的稳定运行

 

高性能功率放大模块在驱动音箱、输出强大音频信号时,其核心功率器件会产生大量热量。这些热量积聚在散热片上,给功放带来两大挑战:

温度引起的音质劣化:功率器件存在最佳工作温度区间。温度过高会导致电气参数发生“热漂移”,直接造成音频信号失真,表现为音质毛糙、细节丢失,严重影响听感体验。

高温对寿命与安全的影响:功率器件的结温是其关键参数。长期或瞬时高温会加速元器件老化,轻则缩短设备寿命,重则导致器件永久损坏,甚至触发系统保护关机,中断娱乐体验。 因此,对散热片温度进行实时、精准的监测,已成为保障高端功放机性能、寿命与用户体验的必备条件。

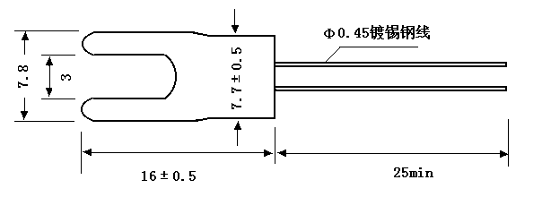
CWF4-503J4350温度传感器具有优异的温度特性和可靠性,精准感知功放内部温度。该传感器阻值50KΩ,阻值精度±5%,B值4350K,确保在-30℃至+125℃工作温度范围内实现精准测温, 约20秒就可以对散热片温度变化进行快速捕捉,450mW的额定功率可用于功放这样的大功率电路中。传感器头部五金件为铜镀银U型叉头件,方便螺丝固定在散热片的同时,这种镀银材料的导电性、导热性相比其他镀层的五金件最优,使该款传感器更适配如功放这种的高频/低损耗要求。该传感器的核心测温元件通过了UL(认证号E240991)CQC(认证号13001089724)TUV(认证号R50245892)产品认证,产品质量有可靠的保证。

 

CWF4-503J4350 NTC传感器持续监测散热片温度,将温度变化实时转换为电阻值信号,传输至主控系统;当温度达到预设阈值时,系统自动提升冷却风扇转速,增强强制散热能力,将温度控制在安全范围内;若因持续高负荷工作导致温度继续上升,系统会智能平滑地降低功放输出功率,既避免过热损坏,又保证设备持续工作,实现设备安全与用户体验的最佳平衡。  

稳定的工作温度确保功率放大器保持在线性工作区,3D环绕音效的每个细节都得以精准还原;用户可放心享受酣唱乐趣,系统在后台智能管理温度,避免传统设备因过热保护突然“失声的尴尬”; 降低过热引发的故障率,使设备成为值得信赖的家庭娱乐中心。

 CWF4-503J4350 NTC温度传感器虽不直接参与声音创造,却通过精准的温度感知与智能系统联动,为高性能功放套上了“安全缰绳”。南京时恒生产的CWF4-503J4350 NTC温度传感器,灵敏度高、反应速度快,产品性能稳定,可长期工作,具有良好的绝缘密封性和抗机械碰撞、抗折弯性。